Les spécifications
Numéro de modèle :
KP-8820A
Lieu d'origine :
Chine
Quantité minimum de commande :
1
Conditions de paiement :
T/T
Capacité d'approvisionnement :
10 sets par mois
Délai de livraison :
30 jours ouvrables
Détails de l'emballage :
Pack de cartons de sécurité ou coffret en contreplaqué
Standard :
Législation en vigueur
Fusible :
10A/250VAC
Définition
Testeur de flexion de cordon UL 859, appareil de test de flexion de cordon
Présentation du produit
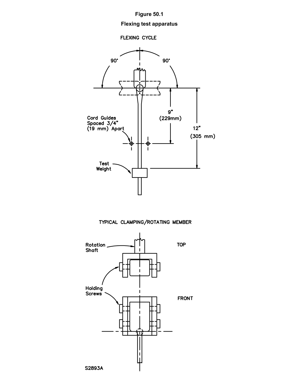
L'appareil de test de flexion de cordon d'alimentation pour appareils ménagers est spécialement conçu et fabriqué conformément à la norme CEI60335-1-clause 25.14, CEI60335-2-23-cl.11.101, UL859-clause 49, UL859-clause52. Il est utilisé pour vérifier la performance de résistance à la flexion (pliage) du cordon d'alimentation des petits appareils ménagers (tels que les cafetières, les fers à repasser électriques, les sèche-cheveux, les stylers soufflants, les peignes ou brosses chauffants, les combinaisons sèche-cheveux-fer à friser, les sèche-cheveux muraux ou l'unité manuelle d'un sèche-cheveux mural) et des lampes. Il est également applicable pour les tests d'endurance à la flexion des cordons d'alimentation des fiches et des prises.
L'appareil est contrôlé par un automate programmable (PLC) et fonctionne via une interface homme-machine couleur de 7 pouces. L'angle de flexion, le nombre de tests et la vitesse de test peuvent être préréglés. Le test est automatiquement effectué selon le test de démarrage. Lorsque le test atteint le nombre de fois préréglé, l'appareil s'arrête automatiquement et émet une invite de signal de fin de test. La charge intégrée de l'appareil peut également fournir un courant de charge à l'échantillon de test.
Paramètres techniques
Nom de l'article Paramètres
Modèle KP-8820A
Poste de test 1 poste
Angle de flexion 0-720°. Peut être préréglé
Vitesse de flexion 0~60 tr/min, peut être préréglé
Poids de charge 113g, 1N, 5N, 10N
Nombre de tests 0~999999 fois, peut être préréglé
Sélection de la position de départ (origine) La position de départ peut être réglée arbitrairement de sorte que la sortie du cordon d'échantillon irrégulier soit perpendiculaire et coïncide sensiblement avec le centre de rotation afin de minimiser le déplacement latéral.
Principe de fonctionnement Le système d'entraînement par servomoteur est adopté, haute précision de régulation de l'angle et de la vitesse de balancement.
Charge intégrée L'appareil dispose d'un régulateur de tension intégré de 5KW, qui peut régler la tension de 0 à 250V et afficher numériquement le courant et la tension.
Alimentation 220V 50/60Hz
Contrôle Avec écran tactile visuel et contrôle PLC, les paramètres de contrôle et de réglage sont très intuitifs et pratiques.
Indication du signal Affichage de l'indicateur d'alarme de fin de test et de déconnexion
Testeur de flexion de cordon UL 859, Appareil d'essai de flexion de cordon Testeur de flexion de cordon UL 859, Appareil d'essai de flexion de cordon
Envoyez votre message à ce fournisseur
Envoyez maintenant

Testeur de flexion de cordon UL 859, Appareil d'essai de flexion de cordon

Demandez le dernier prix
Numéro de modèle :
KP-8820A
Lieu d'origine :
Chine
Quantité minimum de commande :
1
Conditions de paiement :
T/T
Capacité d'approvisionnement :
10 sets par mois
Délai de livraison :
30 jours ouvrables
Fournisseur de contact
Testeur de flexion de cordon UL 859, Appareil d'essai de flexion de cordon

KingPo Technology Development Limited

Verified Supplier
9 Années
hong kong, hong kong
Depuis 2000
Type d'entreprise :
Fabricant
Total annuel :
8000000-1500000
Nombre de salariés :
50~200
Niveau de certification :
Verified Supplier
Fournisseur de contact
Exigence de soumission